Hedy Lamarr’s WWII Invention Helped Shape Modern Tech
Regarded as the “most beautiful woman in the world,” Hedy Lamarr was not only a famous Hollywood actress who sold millions in war bonds during World War II, she was an inventor. Her creations included a frequency-hopping radio communications device for Allied torpedoes during the war.
Top Photo: Studio publicity still of Hedy Lamarr for the film Ziegfeld Girl (1941). Bombshell: The Hedy Lamarr Story – Zeitgeist Films.
Hedy Lamarr lived a remarkable life as an actress of Hollywood’s Golden Age after leaving Europe shortly before the start of World War II. Fleeing a restrictive marriage in Austria in 1937, Lamarr arrived in Hollywood and skyrocketed to fame, starring in films like Algiers (1938), Ziegfeld Girl (1941), and Samson and Delilah (1949). However, only late in her life was she recognized for a lesser-known aspect of her work: inventing. During World War II, she invented a “Secret Communication System,” together with avant-garde composer George Antheil. The system used the concept of frequency hopping to guide torpedoes in a way that was un-jammable. They received a US patent for their invention, but it was never adopted by the US Navy during the war, and Antheil and Lamarr never received a penny for their work. The technology was later used for military communications, including during the Cuban Missile Crisis in 1962, and was a precursor to modern-day technologies such as Wi-Fi, GPS, and Bluetooth.1
Hedy Lamarr was born Hedwig Kiesler on November 9, 1914, in Vienna, Austria. Her parents, Emil and Gertrud Kiesler, were assimilated Jews, although her mother had converted to Catholicism. Her father was born in Lvov, Poland (today’s Lviv, Ukraine), and her mother in Budapest, Hungary.2 Emil Kiesler was a bank director who encouraged his daughter’s inquisitive mind, and by age five, she was already taking apart her music box to understand how it worked. Lamarr’s mother was a concert pianist who encouraged her to participate in the arts. Lamarr became interested in acting at a young age, taking classes and eventually landing roles in films and theater, including work with the director Max Reinhardt. Her screen debut was as an extra in the Austrian-German film Geld auf der Strasse (Money on the Street) in 1930. She then headed to Berlin and was cast in the leading role in Gustav Machatý’s controversial 1933 film Ecstasy.
Hedy Lamarr in The Heavenly Body. Jewish Women’s Archive
Lamarr also starred as Empress Elisabeth of Austria in the 1933 stage play Sissy in Vienna, winning praise and accolades from critics. Friedrich “Fritz” Mandl, a wealthy industrialist and Austrian arms manufacturer, was in the audience and insisted on meeting her. In August 1933, the two married at the Karlskirche in Vienna; for the wedding, Lamarr converted to Christianity. Mandl was raised a Catholic; his father was Jewish, and his mother was Catholic. He was associated with fascist movements throughout Europe, including ties to Nazi Germany and Fascist Italy, due to his business. He supplied ammunition to Italy and was friends with Benito Mussolini, who visited for a dinner party. Many of Mandl’s dinner parties involved business discussions, which meant that Lamarr had an insight into the rising tensions in interwar Europe and gained knowledge of arms manufacturing and weaponry.
Despite having access to enormous wealth and living a privileged existence as the wife of one of Austria’s richest men, Lamarr was deeply unhappy in her marriage to Mandl, and was unable to pursue her acting career. In 1937, she fled to London, where she met Louis B. Mayer, co-founder of Metro-Goldwyn-Mayer (MGM) Studios, who was scouting for European talent, and she signed a contract to work for him in Hollywood. Mayer and Lamarr were both passengers on the ship the SS Normandie bound for New York, where they agreed to change her name from Hedwig Kiesler to Hedy Lamarr in homage to Barbara La Marr, a silent film star. After arriving in Hollywood, she quickly became famous after her breakthrough role in Algiers in 1938. In future films, she was usually cast as a glamorous, exotic temptress, and was known for her stunning beauty as the “most beautiful woman in film.”3 However, few people knew about the fact that Lamarr was working on inventions behind the scenes, both while on set during breaks in her trailer and at night at home. One invention included a tablet that could dissolve in water to make soda.4
Meanwhile in Europe, Nazi Germany annexed Austria through the Anschluss in March 1938. As a result, due to his Jewish heritage, Fritz Mandl fled to Argentina, where he opened arms factories. Lamarr’s father, Emil, had already passed away in 1935 from a heart attack; before his death, he had been devastated by personal financial losses and was fearful of rising Nazism in neighboring Germany.5 Lamarr’s mother, Gertrud, left Austria in 1938 and was living in exile in London until she arrived in Hollywood in 1942 through Lamarr’s efforts.6
After World War II broke out in 1939, Lamarr felt an urge to do something to help the war effort. Although she was not yet a US citizen (and would not be naturalized until 1953), she felt compelled to help the Allies. Lamarr never discussed her Jewish heritage, but she was most likely aware that she could never return to Austria with the increasing antisemitism after the Nazi takeover.7
In 1940, Lamarr met avant-garde composer George Antheil at a dinner party in Hollywood. The son of German immigrants, Antheil was similarly drawn to aiding the Allied cause, especially after the death of his brother, Henry W. Antheil Jr., a diplomat attached to the US Legation in Helsinki, Finland. On June 14, 1940, Henry Antheil was one of the first Americans killed in World War II when the Finnish passenger plane he was aboard was shot down while he was taking part in a rushed government mission evacuating sensitive diplomatic information from Tallinn, Estonia, to Helsinki ahead of the Soviet invasion of the Baltic states. The Soviets most likely shot down the plane shortly after takeoff from Tallinn, although the reasons for the attack remain unclear.8
George Antheil portrait by Berenice Abbott. 1927. A&M Penn Photography Foundation. Wikimedia Commons
Moreover, during the summer of 1940, conditions were worsening for the British in the Battle of the Atlantic. Lamarr was especially impacted by the sinking of the SS City of Benares by a German U-Boat on September 17, 1940. The ship was transporting 90 evacuee children from Britain to Canada, and most died in the attack. This incident motivated Lamarr to invent something that could help the Allied war effort.9 In his memoir Bad Boy of Music, George Antheil described a conversation he had about the war with Lamarr over dinner:
Later on that evening we began talking about the war, which, in the late summer of 1940, was looking most extremely black. Hedy said that she did not feel very comfortable, sitting there in Hollywood and making lots of money when things were in such a state. She said that she knew a good deal about new munitions and various secret weapons, some of which she had invented herself, and that she was thinking seriously of quitting M.G.M. and going to Washington, D.C., to offer her services to the newly established Inventors’ Council.10
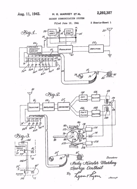
After striking up a friendship, Antheil and Lamarr began working on her idea for a remote-controlled torpedo sometime after the sinking of the City of Benares. Lamarr appears to have been behind the idea for the invention, and Antheil, using his extensive knowledge of music technology, including programming player pianos, helped implement the design. Through their collaboration, they invented a “Secret Communication System,” which used the concept of frequency hopping to guide torpedoes in an un-jammable way. This meant that the radio transmitter and receiver were synchronized, changing their tuning together and hopping randomly from frequency to frequency, preventing interception and allowing a torpedo to find its target.11 Lamarr and Antheil introduced the idea to the National Inventors Council, which showed interest in the project. On June 10, 1941, the pair filed a patent application for their invention (Lamarr used her current legal name on the application, Hedy Kiesler Markey); on August 11, 1942, the invention received US patent No. 2,292,387.12
Patent # 2,292,387 for a “Secret Communication System,” granted to actress Hedy Kiesler Markey. National Air and Space Museum. National Archives
However, the Navy rejected usage of their patent, and Lamarr was essentially told to instead use her celebrity status to sell war bonds to help the war effort. Lamarr did so, and during one period of fundraising in 1942, she raised $25 million in war bonds, around $343 million today. Her fundraising events included an act of “selling kisses” involving a sailor “randomly” chosen from the audience to whom she promised a kiss if enough people bought bonds. In reality, this was staged, and she kissed the same sailor at every rally. She also volunteered at the Hollywood Canteen after its opening in October 1942, where she danced with servicemembers, signed autographs, and helped wash dishes.13
Although the story of Lamarr and Antheil’s wartime invention was leaked to the press in 1941 (completely omitting Antheil’s role), and the Stars and Stripes (mockingly) reported on it in November 1945, memory of Lamarr’s role as an inventor faded.14
Antheil passed away in 1959, the year their patent for the “Secret Communication System” expired. In his 1945 memoir, Antheil wrote about Lamarr:
The Hedy whom we know is not the Hedy you know. You know something which the M.G.M. publicity department has, in all its cunning, dreamed up. There is no such Hedy. … Hedy is very, very bright. Compared to most Hollywood actresses we know, Hedy is an intellectual giant.15
Years later, the US military turned to the concept of frequency hopping for the development of “sonobuoys” to help detect enemy submarines, and by the time of the Cuban Missile Crisis, American ships had torpedoes controlled by frequency-hopping systems. Now known more generally as “spread spectrum,” this type of technology is foundational for military communication technologies in addition to systems such as GPS, phone networks, and Wi-Fi.16
After World War II, Lamarr continued to act in films and on television. Her biggest hit was Samson and Delilah in 1949. In 1960, she was honored with a star on the Hollywood Walk of Fame.17 By the 1970s, Lamarr left the limelight and for the remainder of her life she was relatively reclusive. However, late in her life, she finally began to be recognized for her wartime co-invention of the frequency-hopping device. In 1997, Lamarr and Antheil were jointly honored with the Electronic Frontier Foundation’s Pioneer Award. Lamarr’s son accepted the award on her behalf and played a message that she made acknowledging the honor, stating that she was glad that the invention “was not done in vain.”18 Throughout her life, Lamarr remained passionate about inventions.19 In a 1990 taped interview for Forbes magazine, she stated,
“I was different, I guess. Maybe I came from a different planet. Who knows? But whatever it is, inventions are easy for me to do.”20
On January 19, 2000, Lamarr passed away in Casselberry, Florida at the age of 85. Her ashes were partially scattered in the Vienna Woods according to her last wishes, and in 2014, a memorial to Lamarr was erected in Vienna’s Central Cemetery, where the remainder of her ashes were buried. That same year, she was posthumously inducted into the National Inventors Hall of Fame. Antheil was inducted as well.21 In 2017, the documentary Bombshell: The Hedy Lamarr Story was released, which helped shed more light on her legacy as a trailblazing inventor.22
Today, Hedy Lamarr is celebrated for her legacy not only as a stunningly beautiful Hollywood actress who escaped Europe shortly before the start of World War II, but as a pioneering inventor. She is finally being recognized for all her talents, including for her visionary wartime work on cutting-edge technology that helped lay the foundation for communications in our modern-day world.
Erica Lansberg is not an employee of DPAA, she supports DPAA through a partnership. The views presented are those of the author and do not necessarily represent the views of DPAA, DoD, or its Components.
1For more on Hedy Lamarr’s life and inventions, see Richard Rhodes, Hedy’s Folly: The Life and Breakthrough Inventions of Hedy Lamarr, the Most Beautiful Woman in the World (New York: Doubleday, 2011); Stephen Michael Shearer, Beautiful: The Life of Hedy Lamarr (New York: Thomas Dunne Books/St. Martin’s Press, 2010); Ruth Barton, Hedy Lamarr: The Most Beautiful Woman in Film (Lexington: University Press of Kentucky, 2010); Commander Kenneth T. Klima, U.S. Navy, and Commander Adriana Klima, U.S. Navy, “Naval Warfare and the Most Beautiful Woman in the World,” Naval History 33, no. 2 (April 2019), https://www.usni.org/magazines/naval-history-magazine/2019/april/naval-warfare-and-most-beautiful-woman-world; Ruth Barton, “Hedy Lamarr,” Jewish Women’s Archive, The Shalvi/Hyman Encyclopedia of Jewish Women, last modified June 23, 2021, https://jwa.org/encyclopedia/article/lamarr-hedy; Colleen Cheslak, “Hedy Lamarr,” National Women’s History Museum, last modified August 30, 2018, https://www.womenshistory.org/education-resources/biographies/hedy-lamarr. See patent at U.S. Patent Office, Patent No. 2,292,387, “Secret Communications System,” Hedy Kiesler Markey and George Antheil, application June 10, 1941, https://patents.google.com/patent/US2292387/en.
8Finnish Air Crash Kills U.S. Diplomat,” The New York Times, June 16, 1940, 34; Rhodes, Hedy’s Folly, 125-127. It still remains unclear why the Soviets shot down a Finnish passenger plane during peacetime, whether it was as a result of Moscow wanting to prevent sensitive documents from leaving Estonia, or whether it was a mistake. In 2024, the wreckage of the Finnish passenger plane was located by an Estonian diving and salvage team. See Jari Tanner, “Divers find remains of Finnish WWII plane that was shot down by Moscow with a US diplomat aboard,” AP News, June 15, 2024, https://apnews.com/article/finland-estonia-missing-wwii-plane-us-soviets-8376e3aa3237ec2e551749afc74ccbbe.
12At the time of the patent application, Lamarr was married to Gene Markey, her second husband. U.S. Patent Office, Patent No. 2,292,387, “Secret Communications System,” Hedy Kiesler Markey and George Antheil, application June 10, 1941, https://patents.google.com/patent/US2292387/en.
20Fleming Meeks, “I Guess They Just Take and Forget About a Person,” Forbes, May 14, 1990, 136-138. Recording of interview between Meeks and Lamarr played in Bombshell: The Hedy Lamarr Story, directed by Alexandra Dean (New York: Zeitgeist Films, November 24, 2017), 06:10-06:20, Kanopy.
22Bombshell: The Hedy Lamarr Story, directed by Alexandra Dean (New York: Zeitgeist Films, November 24, 2017), 01:28:31, Kanopy.Source: nationalww2museum.org